Re: Discussion sur le générateur de borniers.

galexis wrote:

Me vient une question qui va avec le tri automatique: comment enlève-t-on une borne qui aurait été ajouté par erreur à un bornier ou serait serait au mauvais endroit ?

Simple: dans le tableau de ton bornier: sélection de ta borne puis tu click "envoyer dans les bornes indépendantes" et tu valides.

https://download.qelectrotech.org/qet/forum_img_2/terminalstrip_remove_terminal.png

"Le jour où tu découvres le Libre, tu sais que tu ne pourras jamais plus revenir en arrière..."Questions regarding QET belong in this forum and will NOT be answered via PM! – Les questions concernant QET doivent être posées sur ce forum et ne seront pas traitées par MP !

Re: Discussion sur le générateur de borniers.

Ha ok, bien vu !

53 (edited by Joshua 2023-03-17 00:32:05)

Re: Discussion sur le générateur de borniers.

Petite vidéo de présentation de l'état actuel du gestionnaire de bornier.
Soyez indulgent avec la qualité de mon pseudo tuto.... (avec les moyens du bord et sans préparation)

Développeur QElectroTech

Re: Discussion sur le générateur de borniers.

Salut Joshua,
merci pour la vidéo explicative.
Tu expliques très bien le fonctionnement, continu.nomicons/smile

Vu que pour l'instant on n'a pas de notion de câble, je pense qu'il faudrait sur chaque borne deux terminaux de chaque coté de la borne avec le label du conducteur.

Ça permettra dans un premier temps de mieux exploiter les nouveaux borniers, et dessiner les câbles et groupes de conducteur sortant/entrants, même si c'est manuel.

"Le jour où tu découvres le Libre, tu sais que tu ne pourras jamais plus revenir en arrière..."Questions regarding QET belong in this forum and will NOT be answered via PM! – Les questions concernant QET doivent être posées sur ce forum et ne seront pas traitées par MP !

Re: Discussion sur le générateur de borniers.

Bravo pour le travail on imagine mieux la masse de travail déjà réalisé, on comprend mieux le fonctionnement.

C'est super la modification du label dans la fenêtre d'édition du bornier : cela nous permettra de reprendre les schémas n'ayant pas été développé initialement avec la version de QET ayant le gestionnaire de borniers.
Comme le dit Laurent, il faudrait tracer un bout de conducteur amont et aval et mettre le numéro de conducteur dessus.
Pour l'entête, il serait peut-être bien de pouvoir afficher ou non la localisation et installation.

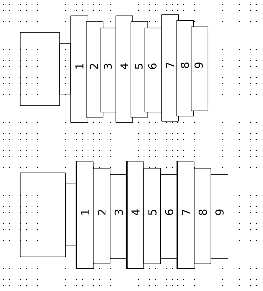
En image, 2 propositions de modification des bornes étagées: 1 légèrement chevauchante et une autre avec un trait plus épais pour marquer le changement de borne physique.
Il serait intéressant de voir comment les logiciel du commerce les représentent.

Post's attachments

Attachment icon Capture d’écran du 2023-03-18 17-32-51.png 14.53 kb, 175 downloads since 2023-03-18 

Re: Discussion sur le générateur de borniers.

Petite remarque sur le tri des bornes existantes qui sont du format XX:[0.9] exemple XA:101, XA:102, XA:103, etc on doit pouvoir faire le tri en considérant que la valeur après le ":" est un entier, non?
Je dit ça mais j'ai pas regardé lez code de tri automatique..

Apres j'ai remarqué que l'ordre de sélection des bornes libres te permettait de les classer directement dans le même ordre dans le tableau du bornier. Clair que comme dans mon exemple sur ma vidéo et avec de nombreuses bornes et borniers differents la tache n'est pas aisée, voire pénible.

Je pense que des filtres par folio/ label serait intéressant d’être ajoutés dans le tableau des "bornes libres", afin de faciliter la recherche et le tri dans le futur. Exemple comme dans ta vidéo classer les bornes par leur position dans les folios, ou par nom, ou par nom des conducteurs liés, etc.

"Le jour où tu découvres le Libre, tu sais que tu ne pourras jamais plus revenir en arrière..."Questions regarding QET belong in this forum and will NOT be answered via PM! – Les questions concernant QET doivent être posées sur ce forum et ne seront pas traitées par MP !

Re: Discussion sur le générateur de borniers.

bonjour à tous

Dans les grandes lignes, si j'ai bien compris le générateur de bornier son rôle est d'établir une représentation graphique des bornes simple ou à étages.

pour le cas des bornes à étage :  afin de différencier les étages serait-il possible dans ce cas la d'affecter une nuance de gris ou éventuellement une couleur

Post's attachments

Attachment icon borne trois étages.png 9.33 kb, 179 downloads since 2023-03-19 

Re: Discussion sur le générateur de borniers.

J'ai mis en place des lignes plus épaisse pour différencier les bornes comme sur ta seconde photo galexis (perso je n'aime pas le chevauchement, ça donne l'impression d'un bug), c'est trois fois rien dans le code on pourra toujours faire différemment si c'est pas top.

@Laurent
-Oui on peut toujours faire ça, après je suis quand même pas trop partisan de gardé les x: comme je l'ai expliqué dans la vidéo. (Allé je vais quand même regarder c'est pas grand chose à faire).

j'ai rajouté la possibilité de filtrer dans le premier post de ce topic.

Développeur QElectroTech

Re: Discussion sur le générateur de borniers.

Starlignt,
déjà une couleur non car il ne faut pas oublier qu'un plan peut être imprimé en noire et blanc.
Ensuite pour le dégradé de gris je n'ai pas trop d'opinion, mais si on peut resté qu'avec du blanc se serais bien mieux (surtout que l'on écrit des choses dans les bornes).

Développeur QElectroTech

Re: Discussion sur le générateur de borniers.

merci de m'avoir répondu  nomicons/smile

le travail que vous faite est remarquable, tout mes encouragements dans l'évolution de QElectroTech nomicons/wink

Re: Discussion sur le générateur de borniers.

@Joshua,
dans la vidéo tu parles des renseignements des bornes (fabricant, référence, etc). J'avais ouvert un post sur le fait que dans l'éditeur d'élément, quand on ouvre un élément de type borne, l'onglet pour renseigner ces informations est masqué. pourtant ces champs sont bien visibles quand on sélectionne un élément de type borne dans le schéma.
Si on veut renseigner ces informations dans un élément borne de notre bibliothèque, il faut alors le modifier en type simple, renseigner les informations, puis remodifier le type en "borne".

Re: Discussion sur le générateur de borniers.

Oui j'avais enlevé ça, car j'estimais que les bornes étant un composant générique elles ne devaient pas avoir de propriété établis par défaut. Mais j’ai tort, ça doit être le cas dans la collection officielle, mais pour la collection utilisateur, libre à chacun de faire comme il veut. J’ajoute ça dans le premier post pour ne pas oublier.

Développeur QElectroTech

63

Re: Discussion sur le générateur de borniers.

Bonjour et merci pour la somme de travail...

Du coté de la représentation graphique, il y a déjà un gros catalogue de références Wago (presque tout est là) dans la bibliothèque dont je me sers beaucoup pour les mises en armoire par exemple, mais à mon avis il faut séparer ce point de ce qui est dans les schémas
Du coté de la schématique, la représentation avec simplement un contour sur fond blanc va bien, par contre s'il y a plusieurs étages j'aime bien la façon dont c'est fait dans eplan : un étagement des dimensions, plutôt qu'une superposition. C'est à dire qu'il y a la borne la plus au fond représentée en une dimension normale, puis à coté en largeur identique mais un peu moins haut le second étage et ainsi de suite.
Les signaux ne sont pas mélangés, ce qui permet d'avoir des fileries assez claires.

Re: Discussion sur le générateur de borniers.

C'est déjà le cas, je te laisse voir la vidéo plus haut à 22min

Développeur QElectroTech

65 (edited by jean-luc.wintz 2023-09-16 17:24:07)

Re: Discussion sur le générateur de borniers.

Bonjour,

Je débute avec Qelectrotech V0.9. La génération des borniers n'est pas disponible sur cette version. L'est-elle sur la V1.0 en cours de développement et peut-on utiliser sans risque cette version par rapport à la V0.9?
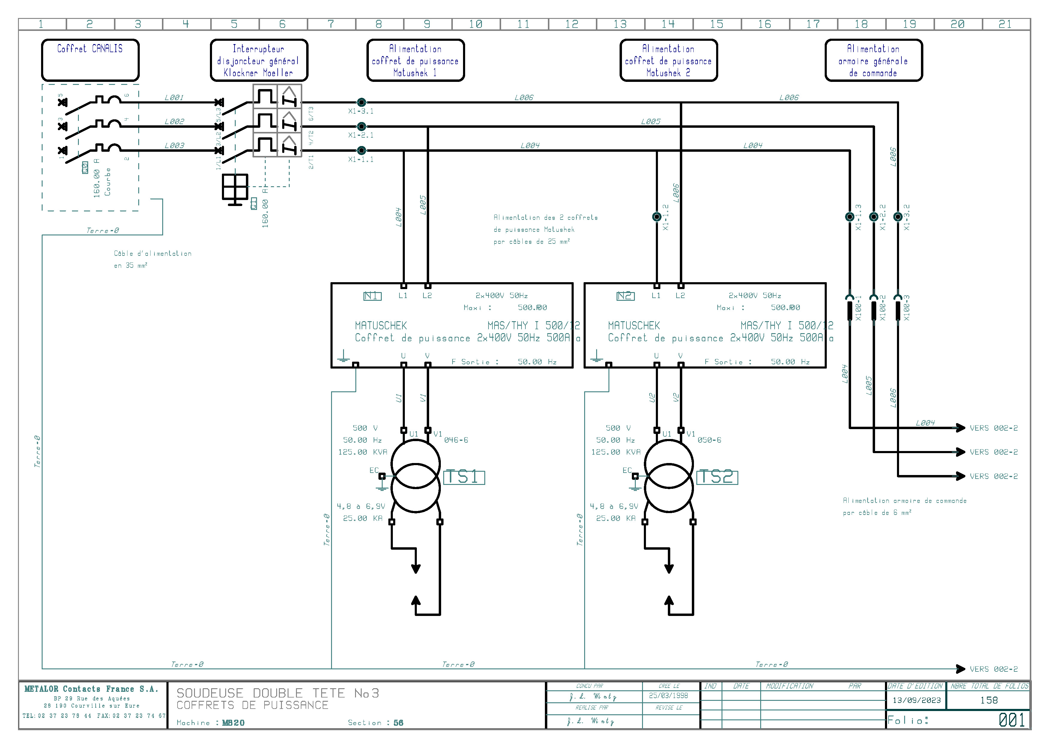
PS : En suggestion, en tant qu'ancien utilisateur expert de SEE, si cela vous intéresse, je peux vous envoyer des dossiers complets (en pdf) pouvant vous servir d'exemples, notamment pour les borniers que vous développez actuellement, mais également pour les câbles et la nomenclature (base de donnée au format Microsoft Access disponible).
Exemple d'un folio bornier avec page schéma correspondante ci-dessous.

Félicitations pour votre travail et bon courage pour la suite.

Post's attachments

Attachment icon Soudeuse_Page_001.jpg 925.59 kb, 101 downloads since 2023-09-16 

Attachment icon Soudeuse_Page_054.jpg 981.88 kb, 98 downloads since 2023-09-16 

Re: Discussion sur le générateur de borniers.

Bonjour Jean-luc,

le générateur de bornier est un plug-in python a rajouter, voir ici:
https://qelectrotech.org/forum/viewtopi … 487#p13487

https://qelectrotech.org/forum/viewtopi … 070#p17070

La version 0.100.0-dev est plus fiable que la 0.90, tu peux y aller sans crainte. depuis la 0.90 beaucoup de bugs ont été corrigés sur la 0.100.0...

Si on peux mettre cette documentation en accès libre pourquoi pas. ;-)

Merci pour les encouragements.

"Le jour où tu découvres le Libre, tu sais que tu ne pourras jamais plus revenir en arrière..."Questions regarding QET belong in this forum and will NOT be answered via PM! – Les questions concernant QET doivent être posées sur ce forum et ne seront pas traitées par MP !

Re: Discussion sur le générateur de borniers.

Désolé de ma réponse tardive, mais je ne suis pas connecté en permanence sur le forum.

Merci beaucoup de votre retour. Je passe donc à la V0.1 et je vois pour le générateur de bornier.

Par ailleurs, je peux bien évidemment vous fournir en accès libre tous mes documents que j'avais personnellement créés et qui sont libérés de toute question de confidentialité. Il faudra toutefois me communiquer par email une adresse (idéalement un serveur web ou email à défaut) pour que je puisse vous les transmettre.
De plus, si vous êtes apte à lire les fichiers SEE Electrical Expert (Ex IGE XAO) je peux même vous fournir en plus de la nomenclature toute la base de symboles que j'avais créée.

Re: Discussion sur le générateur de borniers.

Super, tu peux m'envoyer tes projets sous forme d'archives compressés sur ma boite mail, je les rajouterai si sont en PDF sur le serveur,
par contre on n'est pas aptes a lire les fichiers SEE, la dernière fois ou je me suis servi de SEE electrical expert remonte à plus de 23 ans en arrière, et j'en garde pas un bon souvenir....
Mon adresse email est sur le site, et même dans l'aide -> a propos de QElectroTech dans le logiciel.

"Le jour où tu découvres le Libre, tu sais que tu ne pourras jamais plus revenir en arrière..."Questions regarding QET belong in this forum and will NOT be answered via PM! – Les questions concernant QET doivent être posées sur ce forum et ne seront pas traitées par MP !

Re: Discussion sur le générateur de borniers.

FYI, I saw Joshua updated Terminal_strip branch on old Tuxfamily GIT, so I merged this patch to Github branch Terminal_strip and merged this branch to master.

Now you can use and test new terminal devel like Joshua vidéo.

Enjoy. nomicons/wink

"Le jour où tu découvres le Libre, tu sais que tu ne pourras jamais plus revenir en arrière..."Questions regarding QET belong in this forum and will NOT be answered via PM! – Les questions concernant QET doivent être posées sur ce forum et ne seront pas traitées par MP !

70 (edited by Lvr 2023-11-20 16:36:40)

Re: Discussion sur le générateur de borniers.

If I put a number of terminals in a group, Qelectrotech crashes when I generate the terminal block