Topic: Représentation des cartes automate
Bonjour,
Il y a quelques jours je me suis incrusté dans un post qui ne concernait pas directement ce sujet. Sur le conseil de Nuri, j'ouvre ce post.
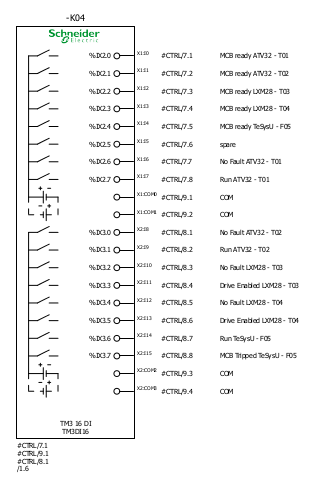
Le sujet était de savoir si dans le futur il serait possible de réaliser facilement le lien automatique entre représentation d'une carte automate et la représentation individuelle dans le câblage de chaque entrée ou sortie.
J'ai repris l'idée de Scorpio d'utiliser la fonction renvoie de folio, mais j'ai en plus utilisé les fonctions des conducteurs: "fonction" et "tension" pour avoir en automatique le nom de l'entrée ou sortie et la fonction.
Exemple si joint.
